|
| Цена: 478000 руб. с НДС |
Мини маслостанция сверхвысокого давления МГС 2500-0.08П-Р-1 с пультом и ручным распределителем (0.08 л/мин, 2500бар, 220В, 850Вт)
|
Мини маслостанция сверхвысокого давления МГС 2500-0.08П-Р-1 с пультом и ручным вентилем сброса давления применяется для тензорных домкратов, испытательных стендов, гидроформинга, выпрессовки подшипников (гидрораспор), шпильконатяжителей, для проверки рукавов высокого давления и других комплектующих на разрывное давление.
При выборе маслостанции обратите внимание, что объём масляного бака маслостанции должен превышать рабочий объём подключенного оборудования минимум на 20-30% для предотвращения попадания воздуха в гидравлическую систему и нагрева масла при работе.
Маслостанция оснащена шестиплунжерным радиальным насосом:
- 3 плунжера низкого давления для обеспечения высокой производительности (2.2 л/мин) на холостом ходу;
- 3 плунжера меньшего диаметра для создания высокого давления при производительности 0.08 л/мин.
То есть при выдвижении штока гидроцилиндра без нагрузки или заполнении системы (на холостом ходу) насос маслостанции обладает значительно большей производительностью - 2.2 л/мин.
Маслостанция сохраняет созданное давление при выключении двигателя.
Бак маслостанции выполнен из алюминия.
Маслостанция оснащена клапаном точной настройки давления, а также бесщеточным серводвигателем, не требующим обслуживания.
2. ТЕХНИЧЕСКИЕ ХАРАКТЕРИСТИКИ МАСЛОСТАНЦИИ СВЕРХВЫСОКОГО ДАВЛЕНИЯ
| Максимальное рабочее давление |
2500 бар (250 МПа) |
| Производительность при давлении 2500 бар |
0.08 л/мин |
| Производительность на холостом ходу (до 20 бар) |
2.2 л/мин |
| Объем масляного бака |
5 л |
| Мощность бесщеточного синхронного серводвигателя переменного тока |
850 Вт |
| Напряжение питания двигателя |
220В |
| Манометр (давление, диаметр) |
3500бар, 100мм,
1 класс точности
|
| Количество выходов на распределителе |
2шт. |
| Быстроразъемные соединения (макс.давление, присоединительная резьба) |
2500бар, BSP 1/4" |
| Рукава в комплекте |
нет |
| Масса (без масла в баке) |
18 кг |
| Габаритные размеры (LxBxH), мм |
370х260х380 |
| Рекомендуется использовать гидравлические масла с вязкостью ISO VG 46 |
3. УСТРОЙСТВО МАСЛОСТАНЦИИ
Маслостанция состоит защитной рамы с интегрированным масляным баком, на крышке которого установлены гидравлический блок управления и приводной бесщеточный серводвигатель, закрытый стальным кожухом. Вращающий момент от электродвигателя передается через шестеренчатый редуктор на вал двухступенчатого радиального насоса, расположенного под крышкой бака.
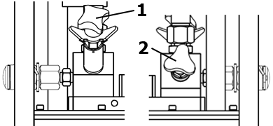
Из элементов управления на распределителе имеются (Рис.1):
- винт регулировки давления 1 с контр гайкой для фиксации установленного значения;
- винт сброса давления 2.
На гидравлическом блоке управления установлен высококачественный виброустойчивый глицериновый манометр для контроля давления в системе, а также шариковые быстроразъемные соединения (БРС) германской фирмы CEJN.

Рис.1 (1 - винт регулировки давления; 2 - винт сброса давления)

Рис.2 (Гидравлическая схема маслостанции)
Поворотом винта сброса давления 2 против часовой стрелки открывается игольчатый клапан, позволяющий не только сбросить давление, но и очень плавно уменьшить давление в системе до требуемого уровня.
К электродвигателю подходят шнур электропитания с вилкой и кабель пульта. Двигатель маслостанции запускается нажатием кнопки на дистанционном пульте управления. Пульт имеет литой алюминиевый ударопрочный корпус и кабель длиной 2м.
На крышке масляного бака, слева от распределителя, расположена заливная горловина, а с лицевой стороны бака имеются глазок для контроля уровня масла и сливное отверстие, закрытое пробкой.
4. ПОДГОТОВКА МАСЛОСТАНЦИИ К РАБОТЕ
4.1. Проверьте все компоненты гидравлической системы на отсутствие повреждений и признаков сильного износа. Запрещается использовать маслостанцию, если повреждены электрокабель, рукав высокого давления, манометр, быстроразъемные соединения, другие детали.
4.2. Проверьте уровень масла в баке. Уровень масла должен находиться немного выше средней линии смотрового окошка. Если уровень масла ниже нормы – долейте масло через заливную горловину. Марка масла должна соответствовать температуре при которой используется маслостанция. Рекомендуется использовать гидравлические масла с вязкостью ISO VG 46.
ВНИМАНИЕ! Рабочий диапазон температур эксплуатации маслостанции должен быть от +5 до +55 град.
4.3. Подключите кабель с вилкой к сети электропитания 220-240В с соблюдением ПУЭ и ПТБ.
4.4. Откройте клапан сброса давления поворотом винта 2 против часовой стрелки.
4.5. Уменьшите давление на предохранительном клапане маслостанции поворотом винта 1 против часовой стрелки (выкручивайте винт, пока не пропадет сопротивление).
4.6. Запустите двигатель маслостанции, нажав на кнопку "ON" пульта управления. Поскольку оба быстроразъемных соединения отключены и клапаны в них закрыты, масло, поступающее от насоса, будет сбрасываться через сливное отверстие распределителя назад в бак маслостанции. Дайте станции поработать 15-20 секунд, чтобы из системы ушел воздух. Остановите двигатель отпустив кнопку на пульте.
4.7. Закройте клапан сброса давления поворотом винта 2 по часовой стрелке до упора.
4.8. Запустите двигатель маслостанции, нажав на кнопку "ON" пульта управления.
ВНИМАНИЕ! При работающем двигателе, постоянно контролируйте давление по манометру. Не допускайте превышения максимального давления маслостанции.
Поскольку оба быстроразъемных соединения отключены и клапан сброса давления также закрыт, масло, поступающее от насоса, будет сбрасываться через предохранительный клапан назад в бак маслостанции. Поворотом винта 1 по часовой стрелке, плавно повышайте давление до требуемого уровня. После достижения требуемого давления, отпустите кнопку "ON" пульта управления и зафиксируйте винт 1 с помощью контргайки, чтобы в процессе работы давление не изменилось.
4.9. Подсоедините гидростанцию к рабочему инструменту через рукав высокого давления (РВД) с БРС. Убедитесь, что рабочее давление БРС, РВД и других компонентов системы соответствует давлению маслостанции. При запуске маслостанции масло подается на оба выхода распределителя под одинаковым давлением. Это может потребоваться, например, при подключении к маслостанции двух тензорных домкратов для одновременного натяжения двух шпилек. Если используется только один из двух выходов распределителя, отключенное БРС удерживает максимальное рабочее давление (1500, 2000 или 2500 бар соответственно).
5. РАБОТА
5.1. Закройте клапан сброса давления поворотом винта 2 по часовой стрелке до упора.
5.2. Запустите двигатель маслостанции, нажав на кнопку "ON" пульта управления. Масло подается с одинаковым давлением на оба выхода распределителя.
5.3. После достижения требуемого давления, отпустите кнопку "ON" пульта управления, двигатель выключится. Давление в системе будет сохраняться.
5.4. Откройте клапан сброса давления поворотом винта 2 против часовой стрелки. Масло из полости высокого давления инструмента сливается в бак под действием возвратной пружины штока гидроцилиндра.
5.5. По манометру убедитесь, что давление упало до нуля. Отсоедините рукав(а) от маслостанции с помощью БРС.
6. ТЕХНИЧЕСКОЕ ОБСЛУЖИВАНИЕ МАСЛОСТАНЦИИ
6.1. Своевременная замена гидравлического масла и соблюдение уровня масла существенно продлевают срок службы маслостанции а также снижает вероятность засорения масляного фильтра и клапанов. Рекомендуется использовать гидравлические масла с вязкостью ISO VG 46. Интервал смены масла зависит от многих факторов и подбирается индивидуально.
При интенсивной эксплуатации ориентировочный интервал смены масла - 2-3 месяца.
При редкой эпизодической эксплуатации ориентировочный интервал смены масла - 6-9 месяцев.
6.2. В процессе эксплуатации маслостанции может потребоваться произвести очистку масляного фильтра и маслобака.
6.3. Двигатель и насосный блок не требуют обслуживания.
7. ТЕХНИКА БЕЗОПАСНОСТИ
7.1. Внимательно изучите настоящее руководство по эксплуатации и следуйте ему при работе и обслуживании.
7.2. Храните данное руководство по эксплуатации в доступном месте.
7.3. При подключении станции в сеть электропитания удостоверьтесь, что сеть электропитания имеет ЗАЗЕМЛЕНИЕ.
7.4. Отсоедините гидростанцию от сети электропитания после использования, а также:
- перед перемещением гидростанции с одного места на другое;
- перед выполнением любых ремонтных работ на станции или инструменте;
- перед проверкой или заменой деталей.
7.5. Запрещается перемещать инструмент и станцию за электрокабель или рукав высокого давления.
7.6. Запрещается перемещать маслостанцию находящуюся под давлением.
7.7. Запрещается отключать/подключать БРС и откручивать резьбовые соединения находящиеся под давлением.
7.8. Избегайте сильных перегибов рукавов высокого давления.
7.9. При работе маслостанции постоянно контролируйте давление по манометру.
7.10. Используйте защитные очки и перчатки. Не вставайте напротив отсоединенных БРС, находящихся под давлением.
7.11. В случае обнаружения утечки масла, немедленно выключите двигатель, отойдите от места утечки и подождите, пока давление в системе снизится.
7.12. Запрещается отсоединять гидростанцию от сети электропитания за электрокабель.
7.13. Запрещается пользоваться гидростанцией необученному персоналу.
7.14. Запрещается использовать гидростанцию, если повреждены электрокабель, рукав высокого давления, быстроразъемные соединения, другие детали.
7.15. Запрещается пользоваться неспециализированным удлинителем.
7.16. Запрещается использовать гидростанцию рядом с легковоспламеняющимися веществами а также в сильнозагрязненных средах.
8. ГАРАНТИЙНЫЕ ОБЯЗАТЕЛЬСТВА
8.1. Поставщик гарантирует надежную работу станции в течение 12 месяцев со дня ее продажи при условии соблюдения потребителем правил эксплуатации, изложенных в настоящем РЭ.
8.2. Претензии принимаются только при наличии настоящего руководства по эксплуатации с отметкой о дате продажи и штампом организации-продавца.
8.3. Гарантийные обязательства не распространяются на станции с механическими повреждениями, вызванными неправильной эксплуатацией, при наличии следов самостоятельных ремонтных работ, при наличии в баке масла отличного от рекомендуемого.
|
|
| |
| |
|
|
Осуществляем гарантийное обслуживание и ремонт переносных маслостанций - масляных гидростанций МГС. Маслостанции МГС.
Прайс-лист с ценами на электрогидравлические насосные станции
Для того чтобы купить маслостанцию, гидростанцию высокого давления или уточнить наличие и цены, или просто проконсультироваться по техническим вопросам, позвоните по телефонам, указанным в разделе Контакты или отправьте заявку произвольной формы на почту info@instan.spb.ru
Мы отправляем гидростанции любой ТК в любой город России Москва, Новосибирск, Екатеринбург, Нижний Новгород, Омск, Тверь, Ростов-на-Дону, Казань, Тюмень, Саратов, Челябинск, Уфа, Липецк, Волгоград, Пермь, Красноярск, Самара, Воронеж, Кемерово,Хабаровск, Краснодар, Ижевск, Тула, Ульяновск, Барнаул, Тольятти, Саранск, Владивосток, Иркутск и другие, а также страны ТС: Казахстан и Беларусь.
Мы работаем с юридическими и физическими лицами.
Гидростанции МГС |
|